《星岛》记者 曹安浔 广州报道
二度冲刺港交所的储能企业海辰储能,在应战行业一哥“宁王”的同时,还准备与整个传统能源“打擂台”。
最近一个月,此前少有公开露面的海辰储能联合创始人、总经理王鹏程开始密集现身。先是在重庆作为民营企业代表发言,随即返回厦门总部接连接待福建、吉林两地政府调研组,接着飞赴山东菏泽,向山东省政协主席及菏泽市委书记汇报当地基地规划。
而这种高强度的工作节奏正是海辰储能当下状态的真实写照。
得益于两位80后连襟创始人吴祖钰与王鹏程的默契配合,海辰储能将福建人“爱拼才会赢”的特质发挥得淋漓尽致,短短六年时间,这匹储能黑马冲到全球储能电池出货量第二的位置,把亿纬锂能、比亚迪等一众老牌厂商甩在身后,成了业内公认的“储能卷王”。海外扩张与大订单并行的势头甚至直追吴祖钰老东家宁德时代,二人也通过珠海海恒及海辰科技,成为公司的单一最大股东并确立实际控制架构。
然而,靠着野性生长一路狂奔海辰储能,此刻正站在矛盾交织的十字路口:一边是政府的密集调研与补贴支持,一边是与宁德时代等企业接连对簿公堂;一边是业务规模的快速跃升,一边又是尚未打通的盈利难题。
尤其是宁德时代强大的法务团队早已是业内公认,其拟定的竞业协议更是专业细致。
如今海辰储能招股书正处在失效的边缘,距离其去年10月二次递表已过去5个月,若接下来一个月内仍无相关进展,这份招股书就将再次失效。
而在全球储能需求大爆发的档口,业内也在关注这家被戏称为“小宁德时代”的储能新贵,将如何在浪潮中突围港交所。
顶配律所对阵“宁王”
3月26日下午,福建新嵛起诉海辰储能以及两位创始人的合同纠纷案在福建三明市永安市人民法院开庭审理,这已经是海辰储能3月开庭的第八起诉讼。
企查查显示,目前海辰储能已经有29个开庭公告,14件司法案件,11起立案信息。
这11起立案信息中,海辰储能作为被告8起,涉及合同纠纷、专利权属纠纷、不正当竞争、建设工厂合同纠纷、装饰装修合同纠纷、买卖合同纠纷等,审理法院包括福建省厦门市中级人民法院、厦门市同安区人民法院、宁德市中级人民法院、永安市人民法院、成都市中级人民法院。
原告企业包括福建新嵛柔性材料科技有限公司、厦门鹭工集团、宁德时代新能源科技股份有限公司、鸿辉系统集成科技(江苏)有限公司、盛天智慧能源科技(福建)有限公司、格力钛新能源等。
而海辰储能的招股书也披露,宁德时代以不正当竞争、专利侵权等为由向海辰储能陆续发起7起诉讼,索赔总额高达1.5亿元,包括宁德时代认为,吴祖钰在竞业限制期内就出来创业,还挖走7名宁德的老员工。
作为宁德时代前技术骨干,吴祖钰的竞业限制期于2021年2月届满,但其创办海辰储能的时间却为2019年12月。2023年9月,法院裁决后,吴祖钰曾通过其妻林秀华向宁德时代支付100万元违约金。
有意思的是,为应对剩下的一系列诉讼案和为IPO推进铺路,海辰储能还严阵以待,聘请了一个空前强大、各有所长的律师团保驾护航。
招股书显示,海辰储能自身的法律顾问加上联席保荐人及其法律顾问,共有六家律所。
而2025年,港股成功上市的公司平均只聘请1家中国律所和1家香港律所,只有少部分叠加离岸律师。
海辰储能的豪华律师团中,有全球顶级红圈律所DavisPolk&Wardwell(达维律师事务所),熟悉中国香港和美国法律;擅长国内争议解决、民商事诉讼的国枫律师事务所为海辰储能的诉讼法律顾问;擅长反垄断、知识产权、不正当竞争纠纷的天元律师事务所负责处理海辰储能竞业限制及知识产权事宜,另外还有通商律师事务所、竞天公诚律师事务所等知名律所。
据梧桐数据中心统计,2025年,33家中国法律顾问为114家香港IPO上市公司提供了法律服务,通商律所以19单名列第1,竞天公诚以17单名列第2,国枫律所以7单名列第5,目前均为海辰储能服务。
对于剩余纠纷案,海辰储能在招股书中回应,公司的专利及技术均由核心研发人员自主研发,或自信誉良好的第三方供应商采购,均非自宁德时代获得,且相关员工入职时,公司并不知晓其与宁德时代之间存在竞业禁止约定。
国枫及天元也认为,宁德时代在诉讼中胜诉的可能性较低,海辰储能预计即使在极端情况下,被判向宁德时代做出赔偿,也不会对公司造成重大不利影响。
招股书显示,海辰储能2024年营收为129.17亿元,同比增长26.6%,毛利为23亿元,2024年中国内地收入为92.16亿元,占比为71.4%。海辰储能自成立以来获得多轮融资,累计募资达80亿元。截至2024年末,海辰储能的现金及现金等价物为42.94亿元。
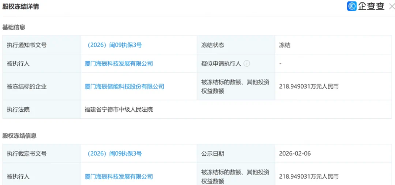
纠纷案之外,拦在IPO关口的还有股权问题。企查查显示,2026年2月,海辰储能被福建宁德中级人民法院冻结部分股权,对应金额为218万元,冻结截止2029年2月。吴祖钰名下也有3则股权冻结信息。
尽管金额不高,但在IPO冲刺的关键节点,这一动作释放的信号却不容乐观。
有熟悉上市合规的律师向《星岛》解释,这类股权冻结,本质是原告为防止被告转移资产、保障后续判决可执行,向法院申请的诉讼保全措施。而这类冻结会牵一发而动全身,不仅会抬高公司后续融资、重大事项决策的推进难度,更会直接拖慢IPO的审核节奏。“毕竟上市审核的核心要求之一,就是发行人的股权结构清晰、稳定,不存在重大权属纠纷”。想要解除这一冻结,要么与原告达成和解、由对方申请解除保全,要么等待案件审理终结、相关纠纷彻底落定。
对于被冻结股权情况、纠纷案判决结果等,《星岛》向海辰储能致函了解相应情况,海辰储能表示,目前处于上市静默期,暂无法回应,欢迎静默期后再作交流。
政府补贴维持
按照常规逻辑,冲刺IPO的企业,本应已经梳理好清晰的股权结构、扫清了潜在的合规纠纷,为上市铺好顺畅的通路。而对冲刺港股的海辰储能而言,这些历史遗留的纠纷迟迟未能解决,恰恰是它“野蛮生长”留下的阵痛缩影。
自诞生起,海辰储能就带有与众不同的“野性生长”基因。
据媒体报道,创业伊始,王鹏程和吴祖钰便深知储能行业有个公认的门槛,没有100亿的资金储备,根本别碰这个重资产的赛道,但他们坚定看好这个行业,大胆杀入。初创时海辰储能一个客户都没有,团队就敢砸10个亿建工厂,第一栋工厂还没建成,第二栋工厂的建设已经开始推进。
彼时,两人为此背负了巨大压力,所有扩产规划都要签署个人担保。产品路线也不同,王鹏程后来曾回忆,当时团队的逻辑是倒过来的,不是“我有什么技术”,而是“客户到底需要什么”,凭着这个客户导向的第一性原理,海辰储能迅速在国内市场立定脚跟,并且在2022年开始进军海外。
发展太快带来的副作用是技术、财务问题被严厉审视。
比较突出的便是自主盈利问题。招股书里,2024年海辰储能的净利润是2.88亿,但同期拿到的政府补助就有4.14亿,换句话说,剥离掉补贴,公司的主营业务依旧处于亏损当中。截至2025年上半年,海辰累计拿到9.81亿元政府补助。
不过从政府密集调研来看,当前对海辰储能的补贴和支持短期并不会出现变化。
据王鹏程回忆,其第一次抵达山东菏泽是凌晨2点,菏泽市委书记张伦等市领导仍在等候接机,顿时让他有了回家的感觉。在政府支持下,海辰储能菏泽基地建设提速,目前项目已进入设备安装调试攻坚阶段,计划6月投产。
当下,海辰储能也亟须把握行业高景气与政府补贴政策窗口期,加速构建可持续的自我造血能力,并同步拓展以IPO为核心的多元化融资渠道。
其次是专利的含金量也受到审视。截至2025年中,海辰储能在全球范围内提交了4336项专利申请,已获2118项专利授权,但2022年至2025年中,公司研发投入为14.84亿元,其中2024年研发费用率为4.1%,低于同期宁德时代的5.14%和比亚迪的6.97%。
好在,海辰储能本身的业务还是稳的。
2025年下半年开始,全球储能需求爆发式地增长,海辰储能也加快了全球布局,其北美系统工厂投产,中东、非洲、大洋洲、南美等新兴市场与本地化运营深化。海外成为公司的核心战略市场。
根据招股书披露,本次海辰储能上市所募资金将主要用于四大方向:扩大产能规模、加大研发投入、建设全球销售与服务体系以及补充营运资金。若成功上市,不仅将缓解资金压力,更将为公司带来资本市场背书,助力其海外扩张。
也许,对这家“储能新贵”而言,IPO并非真正目标,而是转型的关键一跃。它须将过去依赖速度与资源投入的“野蛮冲劲”,转化为注重治理、合规与长期价值的“长跑耐力”。唯有夯实技术壁垒、自主盈利与公司治理结构这三重护城河,才能真正穿越周期,在万亿级储能赛道中行稳致远。
星岛视角
有观点认为,目前中东地区冲突频发引发的能源危机将强化储能刚需,市场上面临能源安全、AI算力与新能源并网三重需求,预计2026年起进入量价齐升阶段。
王鹏程去年底接受《中国企业家杂志》采访时描绘了一个宏大的前景:“2026年的出货量预计在900GWh,到2030年,出货量应该会超过2500GWh。而到2050年,我们测算的市场需求大概是15万GWh,现在只是一个零头。”
在王鹏程看来,储能行业要打造有能力“击穿”整个世界的能源系统,要跟传统能源PK,“如果我们的认知还停留在和同行竞争,那就太浅了。”
编辑︱梁景琴


















