本月初,猫眼APP宣布,张学友60+巡回演唱会东莞站确定于6月6日至6月8日,在广东东莞银行篮球中心连开3场。 因演唱会有两天时间正好与2025年高考时间重合,附近又是东莞市第六高级中学考点,遭到当地市民投诉,希望演唱会延期。
多部门回应称演唱会对高考无影响
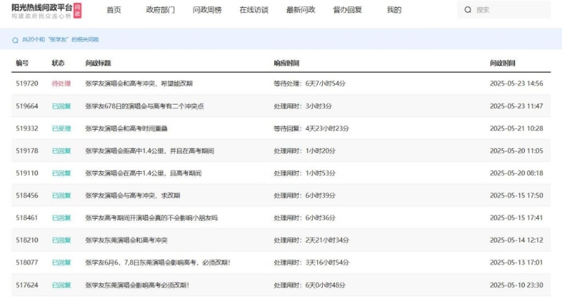
在东莞阳光热线问政平台,已有十多名网友进行反映,希望张学友演唱会能够改期。 一名网友留言称,演唱会场馆和高考考点东莞市第六高级中学距离只有2公里。 即使政府承诺做好了万全的措施和预案,作为高考的家长,我们仍有诸多顾虑,哪怕只有万分之一的可能对高考产生影响。
据极目新闻报道,23日,东莞市招生办公室工作人员表示,他们已联合各部门就此事多次召开会议。 演唱会举办场地东莞篮球中心是一个封闭场馆,对外产生的噪声较小,且该场馆离东莞市第六高级中学考点的直线距离约有1.6公里,不会影响到该考点。
东莞政务服务热线工作人员指,他们此前已接到多名家长的反映,前期文旅、教育、公安、交警等部门,已就演唱会对高考的影响进行了全面评估和科学研判,各部门认为演唱会在时间安排、噪音控制和交通组织等方面已采取充分的保障措施,对高考基本不会造成影响。
该工作人员续指,演唱会是在晚上7点半开始,持续时间两个半小时。 7日和8日的高考开始时间是上午9点,结束时间是下午5点,时间段上没有重合。 演唱会举办期间篮球中心附近会有一定的车辆和人员聚集,官方将协调交警部门提前做好周边道路交通管制和疏导。






